一、产品概述
DSW-A系列设备的设计主要是对生活污水和与之类似的工业有机污水处理,其主要处理手段是采用目前较为先进成熟的生化处理技术——生物接触氧化法,水质参数按一般生活污水水质设计计算,按BOD5平均200mg/l,出水BOD5按20mg/l设计。共有七部分组成:(1)初沉池(2)生物接触氧化池(3)二沉池(4)消毒池、消毒装置(5)污泥池(6)风机水泵等配套(7)电控系统。
二、适用范围
该设备适用于住宅区、宾馆、学校、矿山、工厂等的餐饮洗浴生活污水;医 院、疗养院等生活有机污水;与之类似的工业有机污水处理。
三、产品特点
A、可埋入地表以下,对周围环境无影响;
B、污泥产生量极 少,定期抽排即可;
C、全自动控制,无需专人管理;
D、操作简单,维修方便;
E、工艺成熟先进,运行效果稳定可靠;
F、设备使用寿命长;
G、可与其他设备自由组合,独特设计,适用于多种场合。
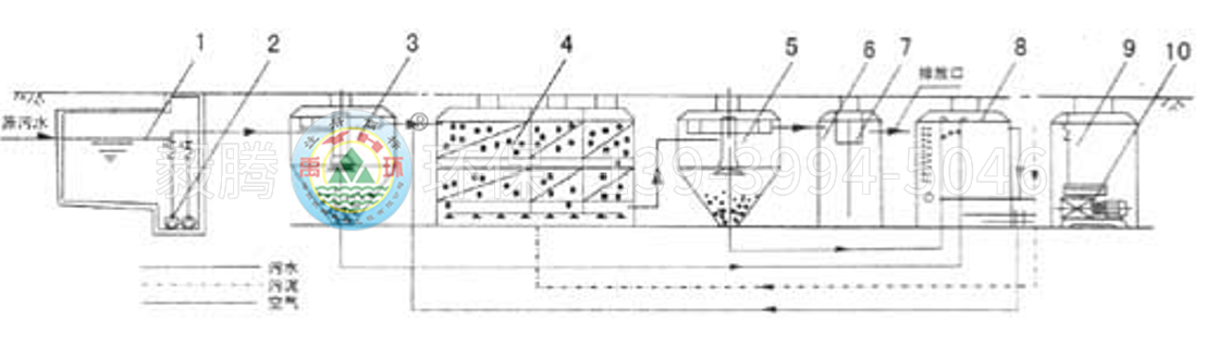
四、DSW—A设备工艺流程简图

1.调节池(不在设备内)2.潜污泵(二台一备一用)3.初沉池4.三级接触氧化池5.二沉池6.消毒池7.消毒装置8.污泥池9.风机房10.风机(二台交替运行)注:DSW-A(0.5-5)设备不设初沉池,污水直接进入接触氧化池;
接触氧化池为二级,二沉池的污泥自流至污泥池。污泥采用厌氧消化。

五、DSW-A设备结构与特点
DSW-A设备因为埋地设置,维护与保养较为困难,因此在设计中该设备就考虑了它的免维护性,整个设备结构合理可靠,同时也考虑到即使发生一些故障,也可通过设备的各检查孔进入设备内。
DSW-A设备所有设施均设置在若干个箱体内,箱体采用A3钢板制作,钢板厚度8mm,各箱体用无缝钢管联接,设备内外均采用化工部推广产品氯磺化聚乙烯防腐涂料,设备一般涂刷该涂料8道:2道底漆6道面漆,防腐寿命一般可达10年以上。
整套DSW-A设备设计维护保养周期为10年。
六、DSW-A设备处理量与进出水BOD关系表
进水BOD5(mg/l) | 200 | 300 | 400 | 200 | 300 | 400 | 500 | 300 | 400 | 500 | |
出水BOD5(mg/l) | 20 | 20 | 20 | 30 | 30 | 30 | 30 | 60 | 60 | 60 | |
处理水量 | A-0.5 | 0.5 | 0.4 | 0.33 | 0.5 | 0.4 | 0.38 | 0.3 | 0.5 | 0.43 | 0.38 |
A-1 | 1 | 0.8 | 0.65 | 1 | 0.9 | 0.75 | 0.6 | 1 | 0.85 | 0.75 | |
A-3 | 3 | 2.4 | 1.95 | 3 | 2.7 | 2.25 | 0.8 | 3 | 2.55 | 0.25 | |
A-5 | 5 | 4 | 3.25 | 5 | 4.5 | 3.75 | 3 | 5 | 4.25 | 3.75 | |
A-10 | 10 | 8 | 6.5 | 10 | 9 | 7.5 | 6 | 10 | 8.5 | 7.5 | |
A-20 | 20 | 16 | 13 | 20 | 18 | 15 | 12 | 20 | 17 | 15 | |
A-30 | 30 | 24 | 19.5 | 30 | 27 | 22.5 | 18 | 30 | 25.5 | 22.5 | |
七、DSW-A设备全自动微机控制柜
1.手动及检查电路2.自动控制电路具体使用说明如下:
每台设备配置两台水泵、两台风机及相应控制阀门;
水泵为一备一用,交替运行;工作液位自动启动,低液位自锁,警戒水位二台同时启动,两台水泵可联动、分动;
风机为一备一用,交替运行,两台风机可联动、分动;
设备长期停运,为保证生物膜的正常生长风机可定时间歇启动;
风机、水泵可配备自动检测声光报警系统,并配有过流、过压、缺相护电路;
沉淀池排泥为时序控制。





冀公网安备13010402002588