一、产品概述
孔板流量计由于已标准化且结构简单、牢固;易于复制,通用性强,价格低廉而获得相当广泛的大量应用。然而,孔板流量计由于它自身结构上的缺陷也有一些重大的缺点;如流出系数不稳定,线性差,重复性不高,准确度因受诸多因素影响也不高,易积污和易被磨损,压损较大,量程比(范围度)小,现场安装条件高,要求的直管段过长等。
对产生差压的节流装置的优化改进工作一直没有中断,对其尺寸、节流件的几何形式与参数,入口边缘剖面,取压与节流方式,可更换孔板的研制工作一直在进行。例如:为测量脏污流体的流量已开发出的非标准节流装置大至有:圆缺孔板、偏心孔板、楔形孔板、耐磨孔板、环形孔板、弯管(弯头)等。这种完善、改进的工作直到80年代中期才发展成质的飞跃,即:将流体节流收缩到管道中心轴线附近的概念从根本上改变成利用同轴安装在管道中的V形尖圆锥将流体逐渐地节流收缩到管道的内边壁。通过测量此V形内锥体前后的差压来测量流量。这种V形内锥式流量计为差压式流量计揭开了崭新的一页。利用V型锥流量计能在更短的直管段条件下,以更宽的量程比对洁净或脏污流体实现更准确更有效的流量测量。
二、V型锥节流装置的三种结构型式
1、测量管型,其口径范围一般从 15mm~900mm。
2、维夫(Wafer)式,即法兰夹装式,其口径范围从15mm~150mm。
3、插入(带顶部管壁)式,其口径范围是150mm至1800mm,由于无法进行校准,精度较差,不确定度在3%到5%之间,测量值的重复性仍然很好。

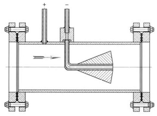
三、插入式V形锥
1、用途及特点
插入式V形锥是在管道式V形锥的基础上开发出来的新型传感器,具有管道式V形锥的特点,在相同条件下,其压力损失仅为文丘里管的5%,标准孔板的1%,差压值大,系统可靠性高,几乎不用维护保养,特别适用于热电厂、锅炉风管等大口径气体流量的测量。要求有一定的前后直管段。
2、外形结构
如下图所示,由安装法兰盖和V形锥体组成。


3、主要技术参数
a、圆形截面管道公称通径:DN=300 mm~6000mm
矩形截面管道高×宽(mm):W×H=300×300~6000×6000 (W、H值可无级变化)
b、公称压力:PN≤6MPa
c、工作温度:<400℃
d、差压值:(0~100 )KPa
e、精度等级: 0.5级 1级 1.5级
f、重复测量误差(稳定度):±10Pa


通过中商114 


冀公网安备13010402002588